
张利
********
********
北京市北京市海淀区
张利(1970-),现任清华大学建筑学院教授、博士生导师、副院长,《世界建筑》主编,简盟工作室主持,中国建筑学会常务理事、清华大学建筑设计研究院副总建筑师,。其主要学术关注为建筑空间与人体的互动关系,致力于东方空间哲学的当代诠释,倡导“软可持续性”与主动式健康空间。
阿那亚启行青少年营地,秦皇岛/建筑
阿那亚启行青少年营地是一个为中国教育机构“启行教育”而设计的营地建筑。启行教育为儿童和青少年提供冬夏令营项目。其教学宗旨为:将中国的“独生子女”们带离他们的家庭,并营造一个临时的社区使他们接近自然,习得多种多样的文化,手工和社交能力。
The building is built for Qixing Education, a successful Chinese company that offers summer and winter school programs for children and the youth. Their pedagogy is to take the Chinese children, mostly products of the one-child policy, out to a temporary community of their own, and get close to nature while learning various skills in culture, craft and socialization.
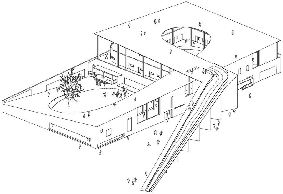
▼项目鸟瞰,aerial view of the project

此项目位于阿那亚滨海度假地产开发区中部的带状沙丘上。一条连续螺旋坡道起始于沙丘一侧,环绕建筑的两个庭院上升,逐渐达到最高点后重新落回到沙丘的另一侧。其中靠外侧的庭院被设计得更为开放,用来组织集体活动;而靠内部的一个则被一层的教室与二层的宿舍包围,更多用于安静而内向的活动。
The building sits amid a strip of sand dunes, which runs along the middle of a seaside weekend housing development inside the Aranya complex. A continuous, spiral ramp that starts from one side of the sand dunes, circles around two courtyards, reaching its highest point before landing down to the ground on the other side of the dunes. Of the two courtyards, the outer one is designed to be kept open and used for collective activities; the inner one is framed by the classrooms on the ground floor and the dorms on the first floor, which is used for private activities.
▼设计草图,design sketches

▼分析图,建筑由一条连续的坡道和两个形格不同的庭院组成,analysis diagram, the building is composed of a continuous ramp and two courtyards for different activities

▼鸟瞰,螺旋上升的坡道到最高点后从另一侧落下,aerial view of the project with a spiral ramp

▼坡道上下形成活动空间,spaces for activities above and beneath the ramp

连续的坡道形成了一系列在其之上和于其之下的活动空间。在靠下的部分,坡道成了一个环绕庭院的临时观众席,并在其下形成了舒适的户外空间。用于支撑坡道并围合空间的混凝土墙上打开了若干巨大洞口,形成朝向沙丘景观和游戏场地的取景框。在中间部分,坡道顶部可远眺大海并鸟瞰阿那亚全景,而在其之下则是一个平坦的儿童游戏空间。在结束部分,坡道迅速的下降,与地面上的儿童游戏场地相连接。当没有冬夏令营时,坡道向当地居民开放。
Along its entire length, the ramp helps to form a series of spaces both above and beneath it. In the lower part, the ramp forms a temporary spectators’ stand in the outer courtyard,covering an outdoor cafe area with large openings in the walls framing views to the dunes and the playgrounds. In the middle part, the top of the ramp provides panoramic views to the sea and the distant plains; below the ramp there are flat spaces for children’s games. In the ending part, the ramp takes a quick descend to the playgrounds below. When there is no summer/winter school activity, the ramp is open to the local residents.
▼坡道起点,start of the ramp

▼靠外侧的开放庭院,open courtyard on the outer side


▼坡道下的活动空间,space under the ramp

▼坡道和教室围合的内部庭院,courtyard on the inner side enclosed by classrooms and ramp


▼从坡道最高处可以眺望阿那亚全景,people could have a full view of Aranya on the highest point of the ramp

▼开敞的室内空间,transparent interior space

通过坡道上不同的高度,宽度和坡度的活动空间来鼓励青少年创造性地使用他们的身体进行活动。
The different heights, expands and slopes of the activity spaces are to encourage the youthful to move their bodies more creatively.
▼坡道为青少年创造活动空间,active spaces for young people created by the ramp



▼轴测图,axonometric

▼总平面图,site plan

▼一层平面图,first floor plan

▼立面图,elevation

▼剖面图,section

位置:阿那亚,昌黎,秦皇岛,河北
建筑功能:青少年教育,社区活动
建筑面积:4,700平米
总投资:人民币3,500万元
设计时间:2015年9月至2016年10月
竣工时间:2017年7月
建设单位:秦皇岛天行九州旅游置业开发有限公司
建设单位决策人:马寅
运营单位:启行营地发展中心
运营单位决策人:赵蔚
施工总包单位:昌黎县建筑工程有限公司
施工总包单位责任人:刘羽翔
结构形式:钢框架与混凝土剪力墙
主要建筑材料:混凝土,木,钢,玻璃
建筑设计单位:清华大学建筑设计研究院简盟工作室
建筑设计人:张利,窦光璐,王灏,白雪,温子申,李聪,潘子豪
室内设计人:张利,窦光璐,温子申,陆滢秀
结构设计人:王明珠,何晓洪
电气设计人:黄劲松,谷文
设备设计人:郭鹏,高来泉
景观设计单位:宝佳丰(北京)国际景观规划设计有限公司、清华大学建筑设计研究院简盟工作室
设计人:寇航,陶然,窦光璐
照明设计单位:清华大学建筑学院张昕工作室
设计人:张昕,韩晓伟,牛本田,唐博
Location: Aranya, Changli, Qihuangdao, Hebei Province, China
Programme: Summer/Winter School Programmes / Community Activities
Size [GFA]: 4,700 M.SQ.
Cost: CNY 35 Million
Time of Design: Sep 2015 – Oct 2016
Time of Completion: July 2017
Owner: Qinhuangdao Tian-Xing-Jiu-Zhou Tourism Development, Ltd.
Owner Representative: Ma Yin
Operator: dea Camp Development Centre
Operator Representative: Zhao Wei
Contractor: Changli County Constructions & Decorations, Ltd.
Contractor Representative: Liu Yuxiang
Structure: Steel Frame Plus Concrete Shearing Walls
Material: Concrete / Wood / Steel / Glass
Design: Atelier TeamMinus
Architecture Designers: Zhang Li / Dou Guanglu / Wang Hao / Bai Xue / Wen Zishen / Li Cong / Pan Zihao
Interior Designers: Zhang Li / Dou Guanglu / Wen Zishen / Lu Yingxiu
Engineering: THUADI
Structure Engineers: Wang Mingzhu / He Xiaohong
Electronic Engineers: Huang Jinsong / Gu Wen
HVAC Engineers: Guo Peng, Gao Laiquan
Landscape: BJF (Beijing) International Landscape Architecture, Ltd. / Atelier TeamMinus
Landscape Designers: Kou Hang, Tao Ran, Dou Guanglu
Lighting: Atelier Zhang Xin
Lighting Designers: Zhang Xin / Han Xiaowei / Niu Bentian / Tang Bo
