布拉格机场3号航站楼升级改造,捷克 / ra15
机场航站楼往往是游客初到一个国家时接触到的首个空间,它们承载着迎接与送别的情感,标志着到达与离境的过渡。正因如此,布拉格机场的3号航站楼(主要用于私人航空)进行了建筑与空间上的升级改造,旨在呈现出更加现代且具有代表性的面貌。
Airport terminals are often the first spaces to shape a visitor’s impression of a country. They blend the emotions of both welcomes and farewells, marking the transitions of arrivals and departures. With this in mind, Terminal 3 at Prague Airport—used primarily for private aviation—underwent architectural and spatial upgrades, aiming to achieve a more contemporary and representative appearance.
▼航站楼概览,overview of the terminal



本次改造在尊重原1990年代后现代主义建筑风格的基础上展开。陆侧立面得以保留,原有的雨棚结构经过翻新或更换。周边区域通过减少过多的硬质铺装、增加绿化、将闲置区域改造成草坪地带并种植树木和灌木,使公共前广场变得更加宜人且清晰易读。新增的街道设施、不锈钢安全柱和背光信息标识也有助于明确动线。
The revitalisation respects the existing architectural character of the original 1990s building, which features elements of postmodernism. The landside façade was preserved, with original canopy elements refurbished or replaced. The surrounding area was enhanced by reducing excessive paved surfaces, adding greenery, converting unused zones into grassy strips, and planting trees and shrubs—resulting in a more pleasant and legible public forecourt. New street furniture, stainless steel safety bollards, and backlit information pylons help clarify circulation routes.
▼将闲置区域改造成草坪地带,converting unused zones into grassy strips

▼地面标识也有助于明确动线,information pylons help clarify circulation routes

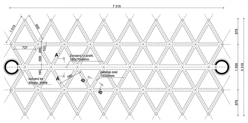
在空侧部分,引入了一项显眼的新建筑元素——一座钢结构雨棚,其由等边三角形构成的“蛛网状”结构尤为醒目,支撑结构为七根截顶金字塔形的柱子。这一几何语言也延续到了新建的楼梯和坡道上,采用拉丝金属包裹,构成一幅优雅而具有标志性的剪影,从远处即可辨识。为了满足运营动线分离的需要,设计还引入了独立的出入口,分别服务于贵宾旅客、旅游团、抵达与出发乘客,以确保动线通畅与安全。
On the airside, a striking new architectural feature was introduced—a steel canopy with a distinctive “web-like” structure composed of equilateral triangles, supported by seven truncated pyramid-shaped columns. The canopy’s geometry is echoed in the design of new staircases and ramps with brushed metal cladding, creating an elegant and iconic silhouette visible from afar. The redesign also reflects the need to separate operational flows, introducing independent entrances for VIP guests, tour groups, arrivals, and departures to ensure smooth and secure circulation.
▼新建的钢结构雨棚,a steel canopy was introduced

▼采用拉丝金属包裹,with brushed metal cladding


▼等边三角形构成的“蛛网状”结构,a distinctive “web-like” structure


▼构成一幅优雅而具有标志性的剪影,creating an elegant and iconic silhouette



室内改造主要集中在始终保持运营的地面层。新增的大堂和相邻的值机区域提供了直观顺畅的通行路径,同时设置有舒适的候客与工作区,为旅客在等待过程中营造出放松的氛围。
Interior renovations focused on the ground floor, which remained operational throughout construction. A new entrance hall and adjoining check-in areas offer an intuitive and seamless path through the terminal, while thoughtfully placed relaxation and work zones provide passengers with a comfortable environment while waiting.
▼新增的大堂和相邻的值机区域,a new entrance hall and adjoining check-in areas


▼值机区域,check-in areas


▼通过垂直绿植墙和独立绿植器实现的植被融合,Integrated greenery—through green walls and standalone planters



室内设计概念以“简约”与“庄重”为核心。选材上运用了拉丝金属、玻璃及贵宾区的装饰元素,突出了航站楼作为形象展示空间的功能。贵宾休息室配备玻璃包裹的柱体和定制家具;普通候机区则遵循布拉格机场既有的设计标准。通过垂直绿植墙和独立绿植器实现的植被融合,为空间增添了一份宁静与格调。专设的礼宾接待室内饰有捷克狮子徽章图案,为正式访问提供了庄重的环境。
The interior design concept is defined by simplicity and dignity. Materials such as brushed metal, glass, and decorative elements in the VIP zone underscore the terminal’s representative role. The VIP lounge features glass-clad columns and bespoke furniture, while standard waiting areas meet Prague Airport’s established design standards. Integrated greenery—through green walls and standalone planters—contributes to a calm and cultivated ambiance. A separate protocol lounge, featuring the Czech lion motif, offers a dignified space for official visits.
▼礼宾接待室内饰有捷克狮子徽章图案,separate protocol lounge, featuring the Czech lion motif


这次现代化改造的成果,是一个既优雅又实用的航站楼,不仅满足了私人航空的特殊需求,也为乘客提供了高水准的舒适与安全体验。
The result of the modernisation is an elegant and functional terminal that meets the specific demands of private air travel while delivering a high standard of comfort and security for passengers.
▼雨棚细部,steel canopy detail


▼夜景,night view


▼场地平面,site plan

▼西立面,west elevation

▼东立面,east elevation

▼北立面,north elevation

▼南立面,south elevation

▼墙体细部,wall cladding detail

▼柱子细部,column cladding detail

▼接待台细部,reception detail

▼雨棚细部,canopy detail

Studio: ra15
Author: Radek Lampa, Libor Hrdoušek, David Hřebačka, Dominika Klavrzová, David Skalický, Tomáš Kroužil
Contact E-mail: info@ra15.cz
Website: http://www.ra15.cz
Social media: http://www.instagram.com/atelier_ra15 http://www.facebook.com/people/ra15/100062994894974
Studio address: Vyšehradská 1376/43, 12800 Prague, Czech Republic
Project location: K Letišti 1073/25, 161 00 Prague
Project country: Czech Republic
Project year: 2020
Completion year:2024
Gross floor area: 4612 m²
Client: Prague Airport
Client’s website: http://www.prg.aero
Photographer: Petr Polák, petrpolakstudio.cz, petr@petrpolakstudio.cz
Collaborators and suppliers General contractor: PORR, http://www.porr.cz
Steel canopy structure: Mužík a syn, http://www.muzikasyn.cz
Aluminium canopy cladding: Albet, http://www.albet.cz
Ramp and staircase cladding, ceilings: ProInterier, http://www.pro-interier.cz
Street-level entrances: Spiral, http://www.sipral.cz
Tiling supplier: ProCeram, http://www.proceram.cz
Glass partitions: RACCOON, http://www.raccoondoors.com
Built-in furniture: Nüssli, http://www.nussli.com
Freestanding furniture supplier: Techo, http://www.officeoutlet.cz
Signage and wayfinding: Atlas, http://www.designbyatlas.com
Baggage system: LogTech, http://www.logtech.cz
Lighting supplier: Delta Light, http://www.svitidla-deltalight.cz














