
********
********
广东省广州市天河区

广州白云站TOD上盖建筑群 / 华工设计院 + 广州地铁院

华南国家植物园云溪迁地保护示范区——自然教育馆,广东 / 华南理工大学建筑设计研究院有限公司

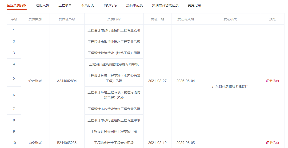
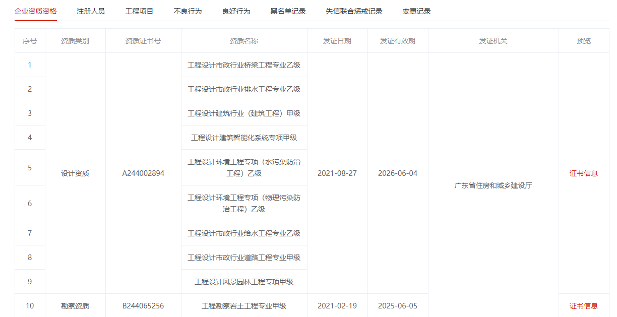
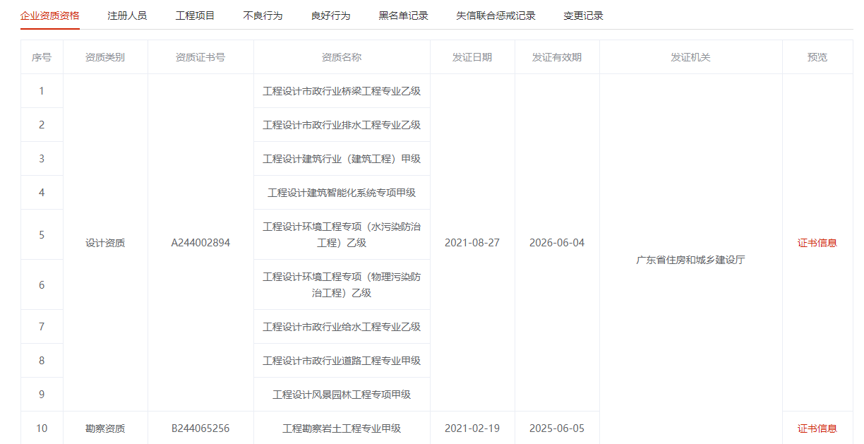
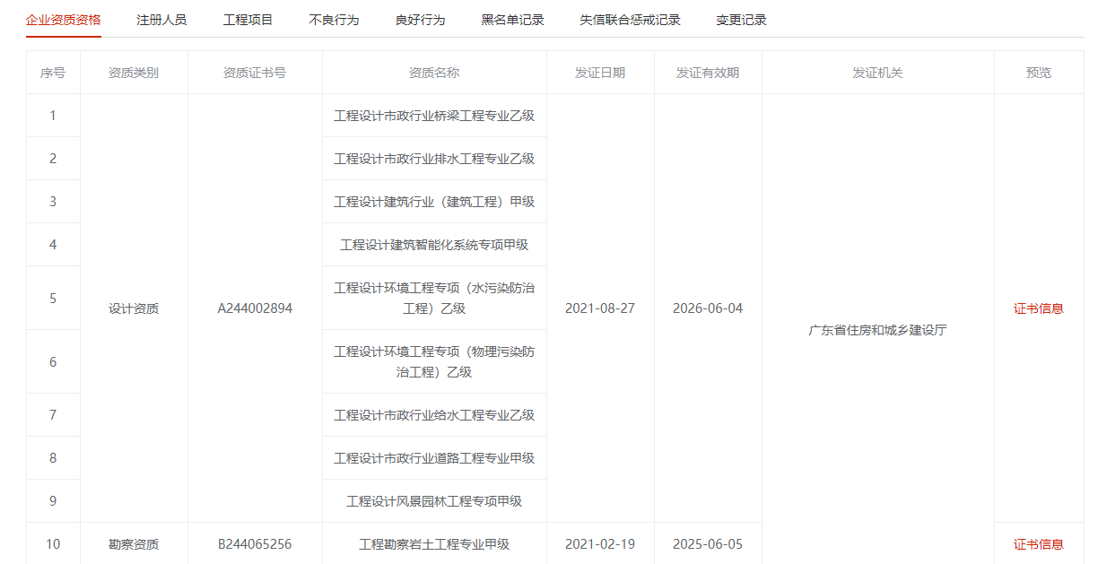
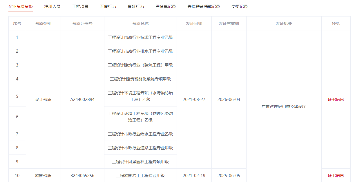
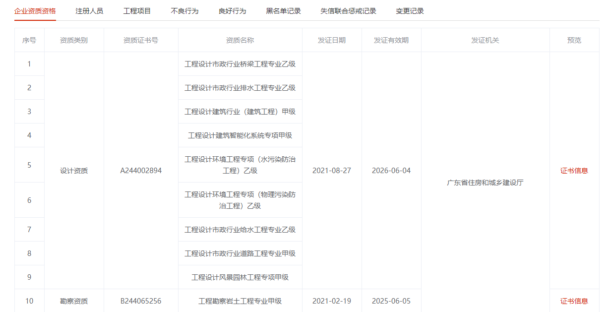
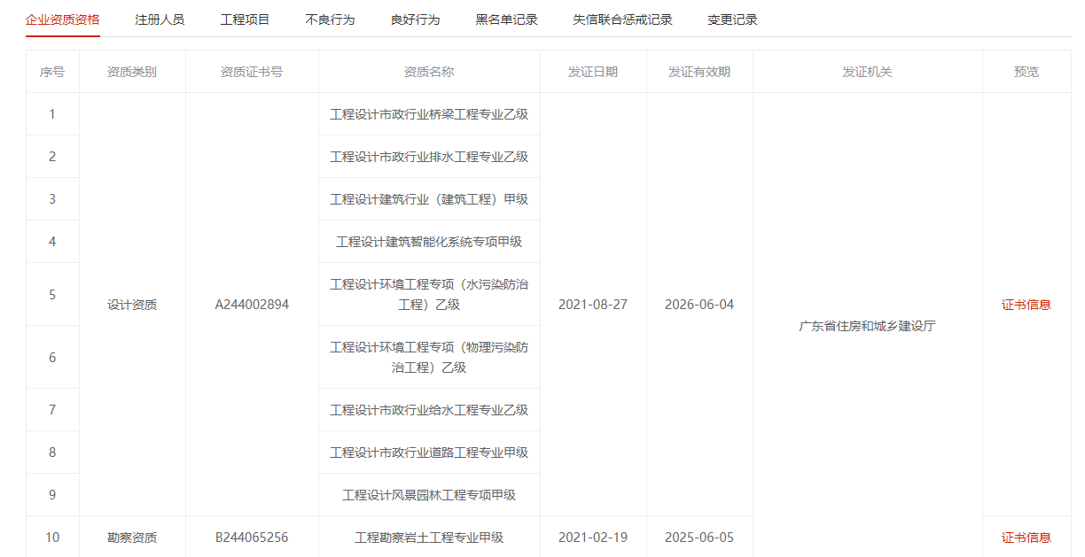
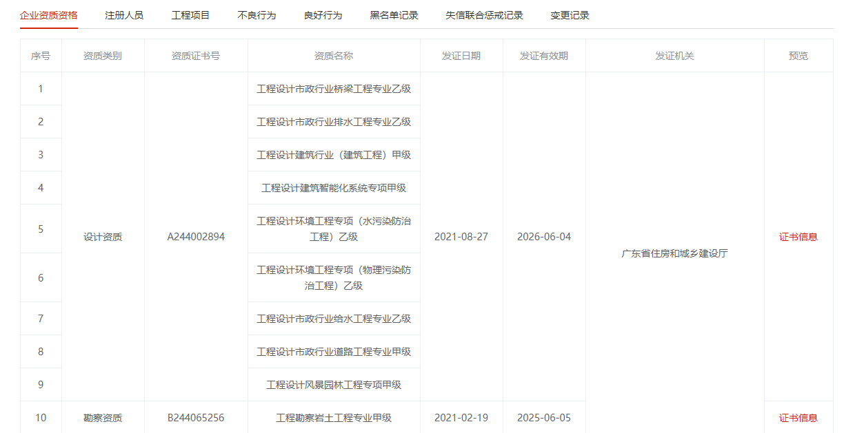
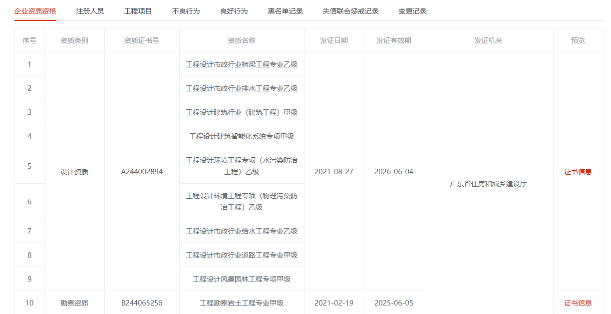
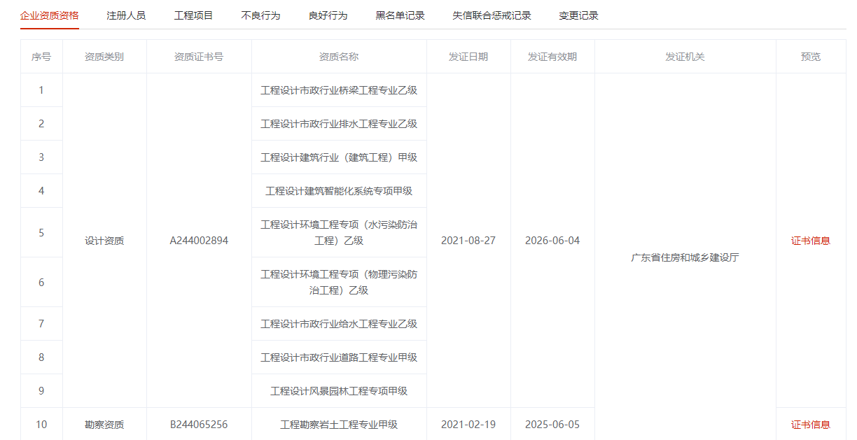
经过60余年的积淀和发展,我院已成为一个技术力量雄厚、人才结构合理、专业配套齐全、设计手段先进的建筑设计院。现具有建筑工程、建筑智能化、城市规划、市政、风景园林、环境工程、工程咨询(建筑和城规)、文物保护勘察设计等多项资质,并通过ISO9001质量体系认证。
After more than 60 years of accumulation and development, our institute has become an architectural design institute with strong technical force, reasonable talent structure, complete professional supporting facilities and advanced design means. Now it has many qualifications, such as construction engineering, building intelligence, urban planning, municipal administration, landscape architecture, environmental engineering, engineering consulting (Architecture and urban planning), cultural relics protection survey and design, and has passed the ISO9001 quality system certification.













